Brukermanual for togekspeditør: Sundland skiftestasjon
Publisert: 8. april 2019
Oppdatert: 14. april 2020
1 Innledning
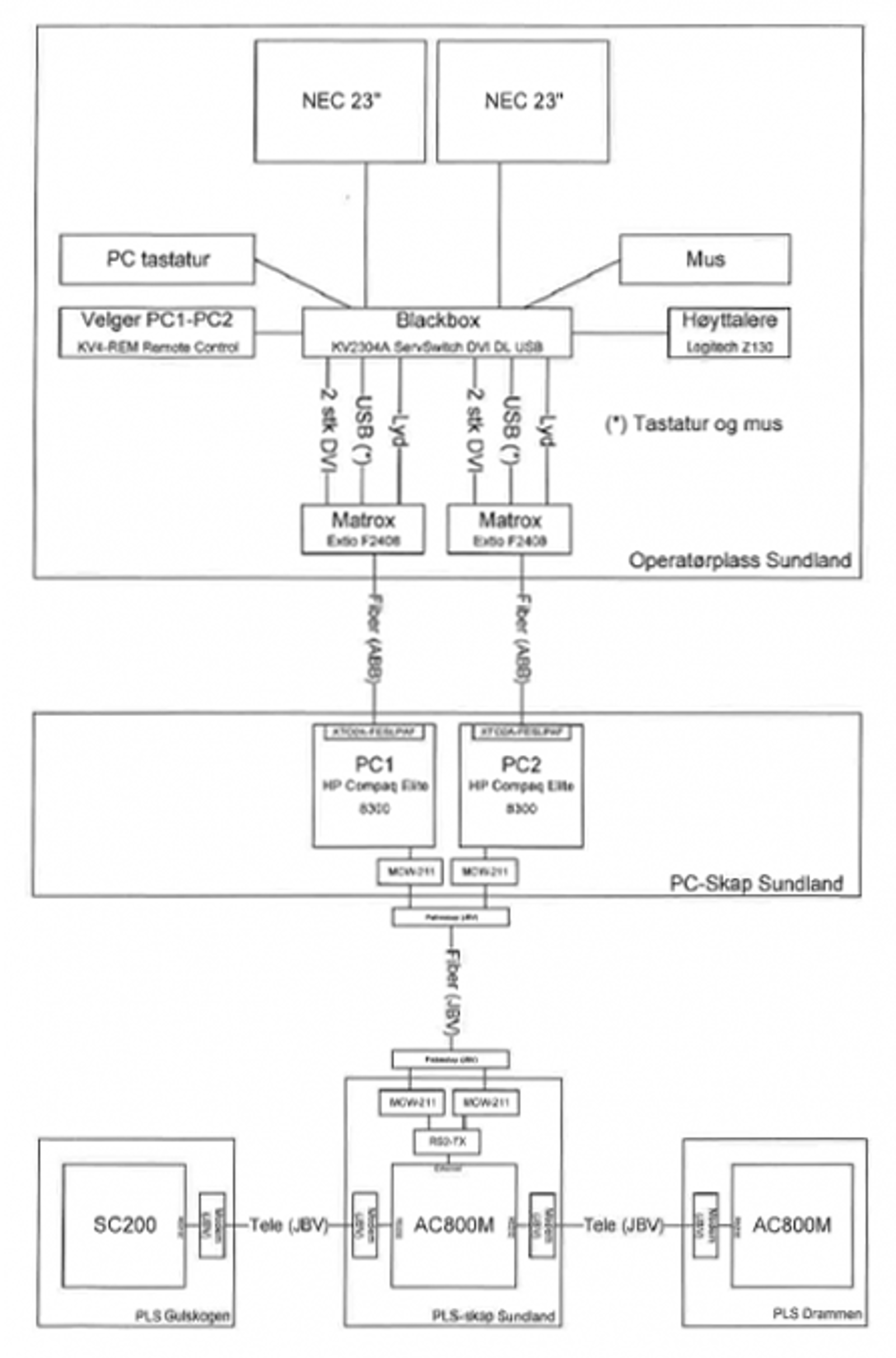
Operatørmanualen er en beskrivelse av hvordan stasjonen indikeres på skjerm og hvordan systemet betjenes. En operatørplass består av en pc med 2 skjermer samt mus, tastatur og høyttalere.
Disse er koblet til 2 pc-er via en velger, og man kan velge hvilken pc man skal betjene ved hjelp av denne.
Begge pc-ene kommuniserer med PLS-en som styrer stasjonen.
Denne kommuniserer igjen med Drammen og Gulskogen.
Dette er bygget som på figuren under.

1.1 Oppstart av operatørplassen
Når pc-en slås på, starter Windows, og riktig bruker logges inn i Windows automatisk.
Deretter starter programmet SattLine opp og kjører i gang applikasjonen Sundland. Når alt er i gang, får man en melding om at sytemet er startet automatisk. Denne tar man bort ved å klikke på knappen OK.
2 Bilder
Bildedelen består av 2 hovedvinduer: et konfigurasjonsvindu som viser alle bibliotek og programmer som systemet er bygget opp av, og et vindu som viser stasjonen. Konfigurasjonsvinduet skal under drift alltid ligge bak vinduet med stasjonen slik at det ikke er synlig. Dersom konfigurasjonsvinduet ligger fremst, klikker man hvor som helst i bildet av stasjonen, og konfigurasjonsbildet legger seg da bak bildet av stasjonen.
Man veksler mellom vinduene som vanlig i Windows ved å holde ALT-tasten nede og så trykke Tab-tasten på tastaturet til man kommer til det vinduet man vil ha øverst. Da slipper man ALT-tasten, og det ønskede vinduet legges øverst.
Bildet under viser de 2 vinduene.

2.1 Hovedbilde
Bildet av stasjonen ser slik ut:

2.2 Roterende hjul
Øverst til høyre på hver skjerm er det et roterende hjul.
Dette hjulet skal rotere for å indikere at det som vises på skjermene er riktig informasjon.
Dersom dette hjulet ikke roterer, kan man ikke stole på informasjonen på skjermen, fordi enten har programmet som oppdaterer bildet stoppet, eller så er bildet fryst. Det kan være feil på pc-en.
2.3 Statisk informasjon
Øverst vises stasjonsnavn og forkortelse for stasjonsnavnet. På hver side vises navn på nabostasjonen.
Spor uten dynamisk informasjon er tegnet med tynnere streker enn spor med dynamisk informasjon.
Nederst i bildet finnes 3 knapper som, når de klikkes på, gjør at mer informasjon blir synlig i bildet.

Signal synlig:

Sporveksel synlig – her vises også en + der pluss-stillingen til alle veksler er:

Sporavsnitt synlig:

Lokalområde I synlig:

Lokalområde II synlig:

Lokalområde III synlig:

2.4 Dynamisk informasjon
2.4.1 Skifteveier
Skifteveier vises med gult spor der skifteveien er, slik:

Dersom en eller flere veksler går ut av kontroll etter at en skiftevei er stilt, vil skifteveien fortsatt ligge, og man vil få indikering på feil på aktuell veksel, slik:

Når en skiftevei er under utløsing, blinker en rund prikk gult/svart i sluttpunktet på skifteveien, og en teller viser at tidsutløsing går, slik:

Når tidsutløsing pågår, vises en grønn T i stasjonsboken:

2.4.2 Dvergsignaler
Dvergsignaler vises som en pil i sporet:

Dersom en dverg er startpunkt eller sluttpunkt i en låst skiftevei eller togvei, indikeres dvergsignalet med rødt:

Når dvergsignalet viser varsom kjøring tillatt (45 grader), er signalet gult:

Når dvergsignalet viser kjøring tillatt (90 grader), er signalet grønt:

Når dvergsignal inngår i et lokalt frigitt område, er signalet blått:

Når dvergsignal er sluttpunkt på et lokalt frigitt område, er signalet rødt:

Når signalstopp er aktivert, vises signalet som en rød fylt trekant:

2.4.3 Fiktive signaler
Fiktive signaler vises som trekant i sporet:

Fiktive signaler benyttes til å stille og å løse ut skifteveier. Det er ingen indikering i fiktive signaler.
2.4.4 Sporveksel
Sporveksler vises i den stillingen de ligger. V204 i pluss vises slik:

V204 i minus vises slik:

Når sporvekselen går, og den er i mellomstilling, vises den ikke i pluss og ikke i minus:

Dersom vekselen er ute av kontroll, vil den blinke svart/hvit:

2.4.5 Lysingal når veksel er ute av kontroll
Når en eller flere veksler er ute av kontroll, starter et lydsignal. Dette avstilles ved å klikke på knappen nederst på venste skjerm, eller ved å trykke på tasten F2 på tastaturet. Se bildet under.

2.4.6 Sporsperre
Alle sporsperrer på Sundland går sammen med tilhørende sporveksel.
Sporsperre vises på sporet når den er på, slik:

Sporsperre vises ved siden av sporet når den er av:

Når sporsperre er i mellomstilling, vises den både oppå og ved siden av sporet:

Når sporsperre (og eventuelt tilhørende sporveksel) er ute av kontroll, blinker sporsperre (og sporveksel) svart/hvitt:

2.4.7 Drivstrøm
Når en eller flere veksler kjøres og trekker strøm, vises teksten «drivstrøm» nederst på venstre skjerm:

2.4.8 Sporavsnitt
Når et sporavsnitt er belagt, farges sporet rødt der belegget er:

Dersom det er belegg på et sporavsnitt i en veksel, og det ikke er stilt skiftevei over vekselen, vil belegget vises i begge retninger i vekselen:

Når det er stilt skiftevei over vekselen, vil belegget vises bare der skifteveien går:

2.4.9 Sperret sporavsnitt
Når et sporavsnitt er sperret, vises en rød stolpe over sporavsnittet:

Der det er flere muligheter for å stille skiftevei over sporavsnittet, vises flere stolper over sporavsnittet:

2.4.10 Lokal skifting
Når det er frigitt for lokal skifting, blir spor, sporveksler og dverger farget blå i det området som er frigitt.
Lokalområde 1 indikeres slik:

Lokalområde 2 indikeres slik:

Lokalområde 3 indikeres slik:

2.4.11 Sporvekselsveiv
Sporvekselsveiv indikeres slik:

Det finnes 1 sporvekselsveiv. Denne er plassert i bildet der den er plassert ute i anlegget.
Når sporvekselsveiven er tatt ut, blinker sveivsymbolet rødt/hvitt:

3 Ordregiving på objekter
Når ordre skal gis, er prinsippet følgende: Man klikker med venstre musetast på det objektet man vil sende ordre til, og får da opp en meny. Deretter klikker man på den ordretasten i menyen som er den ordren man vil sende. Når man har klikket på en knapp, vil ordren bli sendt, og menyen blir borte.
Dersom man tar opp en meny og ikke klikker på en knapp i menyen, vil menyen bli borte av seg selv etter 10 sekunder. I menyer kan teksten i knappene være enten svarte eller grå. Der teksten er svart, blir en ordre sendt når man klikker. Der teksten er grå, blir ingen ordre sendt når man klikker, det vil si at ordren ikke er mulig å sende. Det vil heller ikke bli noen markering på at knappen trykkes inn når man klikker på den.
NB! Dersom man klikker på midterste tasten på musa eller på høyretasten når ingenting er markert, får man opp denne menyen:

Disse funksjonene skal ikke benyttes på Sundland, men dersom man zoomer i bildet, kommer man tilbake til riktig bilde ved å trykke på funksjonstasten F1 på tastaturet:

3.1 Dvergsignaler og fiktive signaler
Når man klikker på et dvergsignal eller et fiktivt signal, får man opp denne menyen:

Navnet på signalet står øverst i menyen, her R27.
- «NUD» sender ordre om tidsutløsning av skiftevei til dette signalet.
- «SIS» sender ordre om signal i stopp.
- Knappen «DTV» benyttes for å stille skifteveier. Se kapittel «Stilling av skifteveier».
3.2 Sporveksler
Klikker man på en sporveksel, får man opp denne menyen:

Navnet på vekselen står øverst i menyen, her V208.
- «V+» sender ordre om veksel til pluss.
- «V–» sendre ordre om veksel til minus.
Dersom vekselen ligger i pluss, er V+ grå, dvs. at man ikke kan sende ordre over veksel til pluss når vekselen ligger i pluss.
Tilsvarende når vekselen ligger i minus.
Dersom vekselen ikke har kontroll i hverken pluss eller minus, er både V+ og V– tilgjengelige.
3.3 Sperring av sporavsnitt
Klikker man på et sporavsnitt, får man opp denne menyen:

Navnet på sporavsnittet står øverst i menyen, her Sf025.
- «SST» sender ordre om sperring. Dette hindrer stilling av togvei eller skftevei over sporavsnittet.
- «SSF» sendre ordre om oppheving av sperring.
Her er begge ordrene alltid tilgjengelige.
4 Stilling av skifteveier
4.1 Prinsipp for å stille skifteveier
Man markerer startpunkt, eventuelle viapunkter, deretter sluttpunkt, og velger så DTV i menyen for sluttpunktet. De punktene som blir klikket på i togveien, markeres med grå bakgrunn til man velger DTV eller fjerner markeringen. Dersom DTV er grå, og dermed ikke tilgjengelig når man klikker på sluttpunktet, betyr det at man forsøker å stille en skiftevei som ikke er mulig.
Dersom man har klikket på startpunkt, eventuelle via-punkt og sluttpunkt, men ikke ønsker å klikke DTV, kan man fjerne markeringene ved å ta bort menyen på det siste punktet man klikket på i skifteveien. Dette kan man gjøre ved å klikke på sluttpunktet en gang til. Dersom man ikke klikker DTV innen 10 sekunder, vil alle markeringene forsvinne av seg selv.
Dersom man klikker på et punkt som ikke kan bli en skiftevei fra det forrige punktet man klikket, vil dette siste punktet bli begynnelsen på en ny skiftevei, og punktene som var markert før man klikket på det siste punktet vil bli borte. F.eks. dersom man klikker på et signal og deretter på et signal i motsatt retning, vil markeringen på det første signalet bli borte, og man vil begynne en ny skiftevei fra signalet man klikket på sist.
Eksempel:

Her har man først klikket på R34, deretter R74. Da har man valgt både startpunkt og sluttpunkt, og DTV blir tilgjengelig i menyen.
Dersom man vil stille flere skfiteveier etter hverandre, kan man klikke på flere dverger etter hverandre, og så DTV på siste dverg.

Her har man først klikket på R18, deretter R28 og så R74. Da kan man klikke på DTV, og skiftevei R13–R28 og R28 og R74 stilles opp.
4.2 Sette signal i stopp
Dersom man vil sette et signal i stopp, klikker man på signalet og så på «SIS» i menyen, som kommer opp slik:

4.3 Tidsutløsning av skiftevei
Dersom man vil løse ut en skiftevei, klikker man i sluttpunktet på skifteveien, og deretter på «NUD» i menyen som kommer opp.

4.4 Nødutløsning av skiftevei
Dersom man har en situasjon med Tsp avfalt og veksler ikke i kontroll til noen mulige sluttpunkter, vil man få en gul kule ved alle mulige sluttpunkter fra den Tsp som er avfalt.

For å få aktuelle Tsp til å strekke til, klikker man i ett av de punktene med gul kule, og deretter på «NUD» i menyen som kommer opp.

4.5 Ordre signalstopp, lokal, sporsperrevarme, jordfeil
Øverst på høyre skjerm står stasjonsnavn Sundland:

Klikker man på navnet, får man opp denne menyen:

Her kan følgende ordre gis:
| Forkortelse | Beskrivelse |
|---|---|
| SSS | Signal stopp |
| ASS | Tilbakestaging av signalstopp |
| LST I | Frigi lokalområde I |
| LSF I | Ta tilbake lokalområde I |
| LST II | Frigi lokalområde II |
| LSF II | Ta tilbake lokalområde II |
| LST III | Frigi lokalområde III |
| LSF III | Ta tilbake lokalområde III |
| KVJ | Kvittere jordfeil |
| VV PÅ | Vekselvarme på |
| VV AV | Vekselvarme av |
5 Anmodning fra Drammen og Gulskogen
5.1 anmodning fra Drammen
Når det anmodes fra Drammen, begynner disse 3 knappene å blinke grønt, og det kommer et lyssignal:

Man kan godta anmodningen ved å klikke på en av knappene bak «Anm. spor II», «Anm. spor III» eller «Anm. spor II».
Når man har klikket på en av disse knappene, blir knappen man har klikket på fast grønn, og de to andre slukker:

Da stilles det skiftevei fra Drammen og inn i det sporet man har valgt. Når det kommer signal i R95 på Drammen, slukker den grønne knappen.
Ved å klikke på knappen foran «Annuler anm.», annulerer man den anmodningen man har valgt.
Ved å klikke på knappen foran «Stopp DRM-SUN», setter man R95 på Drammen i stopp.
5.2 Anmodning fra Gulskogen
Når det anmodes fra Gulskogen, kan det skje på 2 steder, mot R4 eller mot R12.
5.2.1 Anmodning mot R4
Når det anmodes mot R4, begynner denne knappen å blinke grønt.

Vil man godta anmodningen, klikker man på knappen som blinker. Da stilles skiftevei R4–R20 opp, det stilles opp fra fiktivt signal 48 til R4, og knappen går over til fast grønn.
Da sendes et signal tilbake til Gulskogen, og det stilles opp skiftevei fra Gulskogen til R4.
Da slukker den grønne knappen.
Dersom det ikke stilles opp skiftevei fra Gulskogen, kan man annulere anmodningen ved å klikke på knappen «Annuler anm.»
5.2.2 Anmodning mot R12
Når det anmodes mot R12, begynner denne knappen å blinke grønt.

Her må man først stille skiftevei fra R12 til valgt sluttpunkt.
Deretter klikker man på knappen som blinker. Knappen går da over til fast grønt.
Da sendes et signal tilbake til Gulskogen, og det stilles opp skiftevei fra Gulskogen til R12.
Da slukker den grønne knappen.
Dersom det ikke stilles skiftevei fra Gulskogen, kan man annulere anmodningen ved å klikke på knappen «Annuler anm.»
6 Feilmeldninger
6.1 Feilmeldinger i anlegget
Nederst på høyre skjerm er det noen røde tekster som blir synlige når det er feil:



Dersom pc-en mister kontakten med PLS-en, indikeres alle spor hvite:

6.2 Kommunikasjonsfeil mellom PC-ene
Det finnes 2 pc-er på operatørplassen. Disse sender meldinger til hverandre for å sjekke at reserve-pc-en er ok.
Det finnes 2 feilmeldinger som kommer dersom det er feil på reserve-pc-en:
